nr 2
| 1a vondstnr | 91wor-25 |
| 1b vondstcontext | 1A |
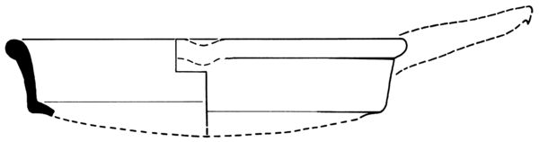
| 2 objecttype | r-bak-1 |
| 3 objectdatering | 1475 - 1525 |
| 4a afmetingen | 27.0 / - |
| 4b vorm | bakpan met zijwand en (niet verdikte) afgeronde rand |
| 5a baksel | roodbakkend aardewerk |
| 5b afwerking (kleur/glazuur) | inwendig loodglazuur |
| 5c decoratie | |
| 5d diversen | oververhit misbaksel |
| 6a bodem | |
| 6b oor/steel | steel |
| 6c compleetheidtype | fragment, gereconstrueerd profiel , steel ontbreekt |
| 7 gebruiksfunctie | bakpan |
| 8 productielocatie(s) | Nederland, Alkmaar |
| 9 literatuurverwijzingen |
Clevis en Kottman, 1989, Clevis / Kottman 1989 |
| cat | 2 |
| 1a | 91wor-25 |
| 1b | 1A |
| 2 | r-bak-1 |
| 3 | 1475 - 1525 |
| 4a | 27.0 / - |
| 4b | bakpan met zijwand en (niet verdikte) afgeronde rand |
| 5a | roodbakkend aardewerk |
| 5b | inwendig loodglazuur |
| 5c | |
| 5d | oververhit misbaksel |
| 6a | |
| 6b | steel |
| 6c | fragment, gereconstrueerd profiel, steel ontbreekt |
| 7 | bakpan |
| 8 | Nederland, Alkmaar |
| 9 | Clevis en Kottman, 1989, Clevis / Kottman 1989 |
meldingen over dit object
Tip hieronder de redactie als u iets ziet dat verbeterd moet worden. U kunt meerdere meldingen doorgeven. Uw opmerkingen worden zeer gewaardeerd: samen maken we het Deventer Systeem beter!
