nr 25
| 1a vondstnr | ATD-06 - vnr. 32 |
| 1b vondstcontext | pottenbakkersafval (1375-1425) |
| 2 objecttype | r-pot-48 |
| 3 objectdatering | 1375 - 1425 |
| 4a afmetingen | - / - |
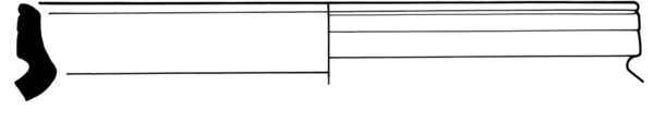
| 4b vorm | bolle pot met hoge schouder en kraagrand met dekselgeul, lobvoeten |
| 5a baksel | roodbakkend aardewerk |
| 5b afwerking (kleur/glazuur) | spaarzaam loodglazuur |
| 5c decoratie | |
| 5d diversen | Anthoniedijk |
| 6a bodem | |
| 6b oor/steel | bandoor |
| 6c compleetheidtype | fragment , oor ontbreekt |
| 7 gebruiksfunctie | pot , voorraadpot |
| 8 productielocatie(s) | Nederland, Utrecht |
| 9 literatuurverwijzingen |
Bruijn, 1963, Bruijn 1979, 89-91 |
| cat | 25 |
| 1a | ATD-06 - vnr. 32 |
| 1b | pottenbakkersafval (1375-1425) |
| 2 | r-pot-48 |
| 3 | 1375 - 1425 |
| 4a | - / - |
| 4b | bolle pot met hoge schouder en kraagrand met dekselgeul, lobvoeten |
| 5a | roodbakkend aardewerk |
| 5b | spaarzaam loodglazuur |
| 5c | |
| 5d | Anthoniedijk |
| 6a | |
| 6b | bandoor |
| 6c | fragment, oor ontbreekt |
| 7 | pot, voorraadpot |
| 8 | Nederland, Utrecht |
| 9 | Bruijn, 1963, Bruijn 1979, 89-91 |
meldingen over dit object
Tip hieronder de redactie als u iets ziet dat verbeterd moet worden. U kunt meerdere meldingen doorgeven. Uw opmerkingen worden zeer gewaardeerd: samen maken we het Deventer Systeem beter!
