nr 63
| 1a vondstnr | GOUA-08AW214-2 |
| 1b vondstcontext |
put 6, aanleg vlak
(1500 - 1550) |
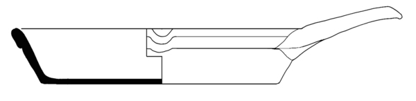
| 2 objecttype | r-bak-2 |
| 3 objectdatering | 1450 - 1550 |
| 4a afmetingen | 33.5 / 6.0 |
| 4b vorm | bakpan met zijwand en verdikte aan buitenzijde licht afgeplatte, afgeronde rand (kraagrand) |
| 5a baksel | roodbakkend aardewerk |
| 5b afwerking (kleur/glazuur) | inwendig loodglazuur |
| 5c decoratie | |
| 5d diversen | |
| 6a bodem | |
| 6b oor/steel | steel, plat, recht |
| 6c compleetheidtype | archeologisch compleet |
| 7 gebruiksfunctie | bakpan |
| 8 productielocatie(s) | Nederland, West-Nederland |
| 9 literatuurverwijzingen |
| cat | 63 |
| 1a | GOUA-08AW214-2 |
| 1b | put 6, aanleg vlak
(1500 - 1550) |
| 2 | r-bak-2 |
| 3 | 1450 - 1550 |
| 4a | 33.5 / 6.0 |
| 4b | bakpan met zijwand en verdikte aan buitenzijde licht afgeplatte, afgeronde rand (kraagrand) |
| 5a | roodbakkend aardewerk |
| 5b | inwendig loodglazuur |
| 5c | |
| 5d | |
| 6a | |
| 6b | steel, plat, recht |
| 6c | archeologisch compleet |
| 7 | bakpan |
| 8 | Nederland, West-Nederland |
| 9 |
meldingen over dit object
Tip hieronder de redactie als u iets ziet dat verbeterd moet worden. U kunt meerdere meldingen doorgeven. Uw opmerkingen worden zeer gewaardeerd: samen maken we het Deventer Systeem beter!
