nr 122
| 1a vondstnr | vnr. 5697 |
| 1b vondstcontext | greppel S697-3 (1400/1450-1500) |
| 2 objecttype | bg-pot-5 |
| 3 objectdatering | 1200 - 1250 |
| 4a afmetingen | - / - |
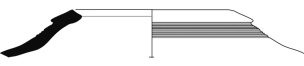
| 4b vorm | handgevormde voorraadpot met brede manchetrand, bolle bodem (a) of standring (b) |
| 5a baksel | blauwgrijs aardewerk |
| 5b afwerking (kleur/glazuur) | |
| 5c decoratie | groeven onder rand |
| 5d diversen | |
| 6a bodem | |
| 6b oor/steel | |
| 6c compleetheidtype | fragment |
| 7 gebruiksfunctie | pot , voorraadpot |
| 8 productielocatie(s) | Duitsland, Elmpt |
| 9 literatuurverwijzingen |
| cat | 122 |
| 1a | vnr. 5697 |
| 1b | greppel S697-3 (1400/1450-1500) |
| 2 | bg-pot-5 |
| 3 | 1200 - 1250 |
| 4a | - / - |
| 4b | handgevormde voorraadpot met brede manchetrand, bolle bodem (a) of standring (b) |
| 5a | blauwgrijs aardewerk |
| 5b | |
| 5c | groeven onder rand |
| 5d | |
| 6a | |
| 6b | |
| 6c | fragment |
| 7 | pot, voorraadpot |
| 8 | Duitsland, Elmpt |
| 9 |
meldingen over dit object
Tip hieronder de redactie als u iets ziet dat verbeterd moet worden. U kunt meerdere meldingen doorgeven. Uw opmerkingen worden zeer gewaardeerd: samen maken we het Deventer Systeem beter!