nr 52
| 1a vondstnr | Utrecht - Rijnkade Vnr. 377-3 |
| 1b vondstcontext | put 3, vlak 1, spoor 1 |
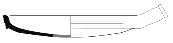
| 2 objecttype | r-bak-24 |
| 3 objectdatering | 1500 - 1550 |
| 4a afmetingen | - / - |
| 4b vorm | bakpan met zeer hoge kraagrand |
| 5a baksel | roodbakkend aardewerk |
| 5b afwerking (kleur/glazuur) | inwendig loodglazuur met mangaanoxide vlekken |
| 5c decoratie | |
| 5d diversen | |
| 6a bodem | |
| 6b oor/steel | steel, plat, recht |
| 6c compleetheidtype | fragment, gereconstrueerd profiel , steel ontbreekt |
| 7 gebruiksfunctie | bakpan |
| 8 productielocatie(s) | lokaal of regionaal |
| 9 literatuurverwijzingen |
| cat | 52 |
| 1a | Utrecht - Rijnkade Vnr. 377-3 |
| 1b | put 3, vlak 1, spoor 1 |
| 2 | r-bak-24 |
| 3 | 1500 - 1550 |
| 4a | - / - |
| 4b | bakpan met zeer hoge kraagrand |
| 5a | roodbakkend aardewerk |
| 5b | inwendig loodglazuur met mangaanoxide vlekken |
| 5c | |
| 5d | |
| 6a | |
| 6b | steel, plat, recht |
| 6c | fragment, gereconstrueerd profiel, steel ontbreekt |
| 7 | bakpan |
| 8 | lokaal of regionaal |
| 9 |
meldingen over dit object
Tip hieronder de redactie als u iets ziet dat verbeterd moet worden. U kunt meerdere meldingen doorgeven. Uw opmerkingen worden zeer gewaardeerd: samen maken we het Deventer Systeem beter!