nr 1
| 1a vondstnr | Haa97-96BGHBPIB |
| 1b vondstcontext | (1700-1739) |
| 2 objecttype | s2-pis-2 |
| 3 objectdatering | 1700 - 1739 |
| 4a afmetingen | 17.0 / 16.0 / 11.0 |
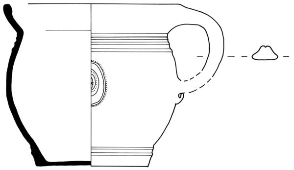
| 4b vorm | tonvormige pispot met naar buiten geknikte rand met dekselgeul, standvlak |
| 5a baksel | steengoed 2 |
| 5b afwerking (kleur/glazuur) | zoutglazuur |
| 5c decoratie | uitwendig: groeven net onder rand en boven bodem, op buik drie ovale appliques met hartjes en twee appliques van leeuwen, accenten aangebracht met kobaltoxide uitwendig: blauw |
| 5d diversen | geleed lintoor |
| 6a bodem | standvlak |
| 6b oor/steel | lintoor verticaal, één |
| 6c compleetheidtype | compleet |
| 7 gebruiksfunctie | pispot |
| 8 productielocatie(s) | Duitsland, Westerwald |
| 9 literatuurverwijzingen |
| cat | 1 |
| 1a | Haa97-96BGHBPIB |
| 1b | (1700-1739) |
| 2 | s2-pis-2 |
| 3 | 1700 - 1739 |
| 4a | 17.0 / 16.0 / 11.0 |
| 4b | tonvormige pispot met naar buiten geknikte rand met dekselgeul, standvlak |
| 5a | steengoed 2 |
| 5b | zoutglazuur |
| 5c | uitwendig: groeven net onder rand en boven bodem, op buik drie ovale appliques met hartjes en twee appliques van leeuwen, accenten aangebracht met kobaltoxide uitwendig: blauw |
| 5d | geleed lintoor |
| 6a | standvlak |
| 6b | lintoor verticaal, één |
| 6c | compleet |
| 7 | pispot |
| 8 | Duitsland, Westerwald |
| 9 |
meldingen over dit object
Tip hieronder de redactie als u iets ziet dat verbeterd moet worden. U kunt meerdere meldingen doorgeven. Uw opmerkingen worden zeer gewaardeerd: samen maken we het Deventer Systeem beter!
